189830 - Compact Hoggers DP - on hydro bushing 183821 - saw blade towards the spindle (version 2)
Technical data
Description
Machine / Application
- panel sizing saws
- laminate flooring
Design
- open gullet
- with shear angle
- resharpening area 4 mm
Advantages
- improved chip evacuation thanks to shear angle
- optimal positioning of knives from hogger to saw blade
- reduction of scouring on the tool
Notes
- application against feed for cutting along and across the grain
- sense of rotation according to VDMA 8849
| Feature | Value | |
|---|---|---|
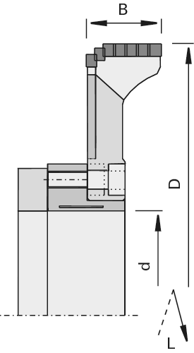
| Ø D = Cutting circle diameter | 260 [mm] | |
| B = Cutting width | 25 [mm] | |
| Ø d = Bore diameter | 100 [mm] | |
| Z = No. of teeth | 36+18+9+9 | |
| NL = Pin holes | 2x4/8/130 | |
| L/R = cutting direction | R | |
| L = Delivery Status | ||
|
Dimensions entered are not listed?
available from stock |
||
Spare parts / accessories
| Product picture | Description | Design | Ident-No. | ||
|---|---|---|---|---|---|
| Hydro Clamping Bushings - gang-rip saw blades and hoggers (Paul, Homag) | Ø110x14,2x100 L=49.5 | 183821 | |||
|
available from stock |
|||||

