183821 - Hydro Clamping Bushings - gang-rip saw blades and hoggers (Paul, Homag)
Technical data
Description
Machine / Application
- machines Paul, Homag
- for mounting of multi-rip saw blades and hoggers
Design
- hardened tool mounting area
- with one clamping zone
- closed hydraulic expansion clamping chuck for tight-tolerance fit on the motor shaft
- n max = 9,000 min-1
Advantages
- high smoothness of running
- short retool-times of panel-widths thanks to quick adjustment of tools
- maintenance-free
Notes
- for clockwise and counter-clockwise rotation
- mounting arrangements: 1. saw blade with spacer, 2. hogger without spacer
- positive locking between machine and sleeve
- tap holes on PCD for fixing of tools
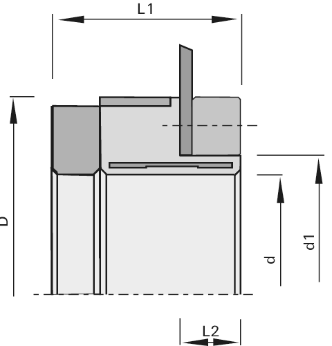
| Feature | Value | |
|---|---|---|
| Ø d1 = Adapter size on the tool side | 110 [mm] | |
| L2 = Effective length | 14,2 [mm] | |
| Ø d = Adapter size on the machine side | 100 [mm] | |
| Ø D = Diameter | 145 [mm] | |
| L1 = Total length | 49.5 [mm] | |
| Dimension | Ø145x49,5xØ110/100 [mm] | |
| NL = Pin holes | 4/M8/130 | |
| L = Delivery Status | ||
| Machine/Type | Paul | |
|
Dimensions entered are not listed?
available from stock |
||
