Door leaf set HW
Article
Description
Machine / Application
- molders
- for manufacturing door leaves and cladding in solid woods and wood-based materials
Design
Advantages
- no tool change needed since different profiles are manufactured with the same cutter set
Notes
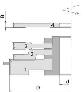
- Ident-No. 199399 with 887060 for complete processing
- Ident-No. 199398 as construction set for Poly Rabbeting Cutterhead
|
Ø D
[mm] |
B
[mm] |
Ø d
[mm] |
Z | Remarks | Ident-No. | Comp./ Inqu. | |
|---|---|---|---|---|---|---|---|
|
Dimensions entered are not listed?
available from stock |
|||||||
| 150 | 30 | 2+2 | Cutter 2/3 on clamping bushing | 199398 | |||
| 150 | 30 | 2+2 | Cutter 1/2/3 on clamping bushing | 199399 | |||
| 150 | 9,0 | 30 | 4+4 | Cutter 3 | 887059 | ||
| 150 | 6,0 | 30 | 4+4 | Cutter 4 | 887060 | ||
