Hydro-Spannfutter PS 2000-E - Werkzeug direkt verschraubt
Artikel
Beschreibung
Maschine / Anwendung
- zum präzisen Spannen von Schaftwerkzeugen mit zylindrischem Schaft
Ausführung
- n max = 25.000 min -1
Vorteile
- hohe Schnittqualität und lange Standwege durch hohe Rundlaufgenauigkeit
- Minimierung der Werkzeugrüstzeiten durch schnellen, einfachen Werkzeugwechsel
Hinweise
- für Rechts- und Linkslauf
- direkter Anbau an die Maschinenspindel
- Erstbezug über die jeweiligen Maschinenhersteller
- Sicherung der Werkzeuge in axialer Richtung
|
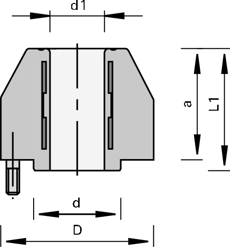
Ø d1
[mm] |
Ø d
[mm] |
Ø D
[mm] |
L1
[mm] |
a
[mm] |
Gewicht
[kg] |
Ident-No. | Vergl. | Anfr. | |
|---|---|---|---|---|---|---|---|---|
|
Gesuchte Abmessungen werden nicht aufgeführt?
ab Lager lieferbar |
||||||||
| 25 | 40 | 70 | 56 | 51 | 1.327 | 173752 | ||
