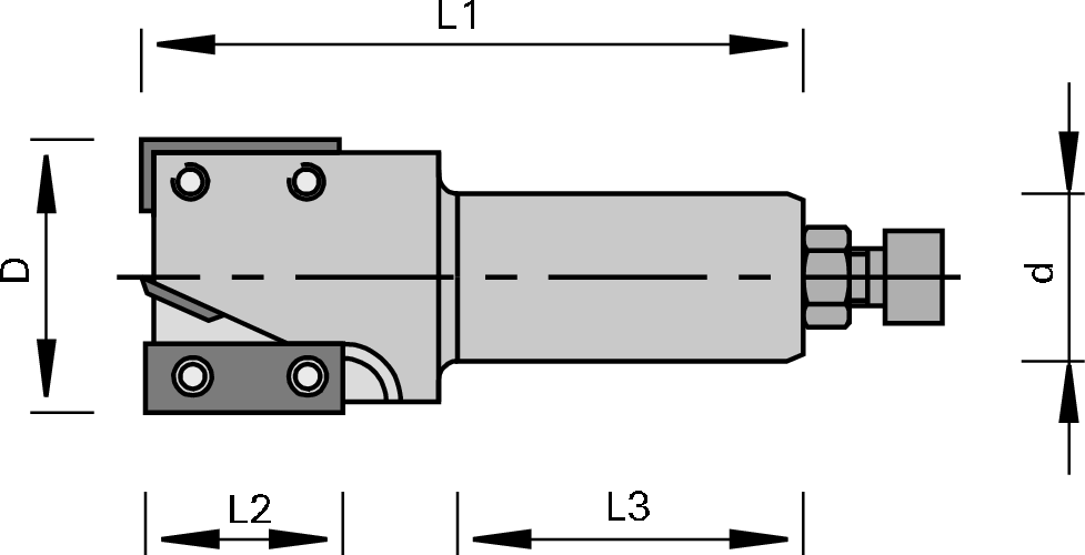
Schaftfräser mit HW-Wendeplatten - Z=2+1
Artikel
Beschreibung
Maschine / Anwendung
- CNC-Fräsmaschinen
- zum Fügen, Fälzen und Nuten in Massivhölzern und Holzwerkstoffen
- zum Fräsen von Ausschnitten und Konturen
- zum Eintauchen bei gleichzeitigem Vorschub in z-Achse und x- oder y-Achse
Ausführung
- 2 Schneiden achsparallel umfangschneidend
- 1 Schneide zum Einbohren mit Achswinkel
- Schneidstoff: HW HL Board 05
- mit Anschlagschraube
Vorteile
Hinweise
- Spannmittel: ps-System, TRIBOS, Spannzangen-Futter
- mit Anschlagschraube
|
Ø D
[mm] |
L2
[mm] |
Ø d
[mm] |
L3
[mm] |
L1
[mm] |
Z |
nmax
[min-1] |
L/R | Ident-No. | Vergl. | Anfr. | |
|---|---|---|---|---|---|---|---|---|---|---|
|
Gesuchte Abmessungen werden nicht aufgeführt?
ab Lager lieferbar |
||||||||||
| 40 | 30 | 16 | 43 | 91 | 2+1 | 18’000 | R | 168731 | ||
| 40 | 30 | 25 | 55 | 106 | 2+1 | 18’000 | R | 168730 | ||
