p-System Hochleistungs-Falz-Schaftfräser CM DP
Artikel
Beschreibung
Maschine / Anwendung
- 5-Achs-Bearbeitungszentren
- zum ausrissfreien Hochleistungs-Fälzen von Massivhölzern (astfrei) längs und quer zur Faser
- zum Hochleistungs-Fälzen von melaminharz- und papierbeschichteten, HPL-, folienbelegten und furnierten Holzwerkstoffen und lackierten Oberflächen
- Finishqualität auch bei faserhaltigen Materialien wie stoffbeschichteten Platten, Linoleum mit Jutefasern, Kork, etc.
Ausführung
- extrem ziehender Schnitt
- einzusetzen unter 5° geschwenkter Spindel
- Nachschärfzone Stirnseite 2,5 mm, Umfangseite 3 mm
Vorteile
- maximale Schnittqualität auf beiden Falzseiten und maximale Standwege
- ausrissfreie Schnitte auch auf der Austrittseite
Hinweise
- empfohlener Vorschub pro Zahn: Holzwerkstoffe 0,5 - 0,8 mm, Massivholz 0,25 - 0,4
- Spannmittel: Präzisionsspannmittel z.B. ps-System, TRIBOS, Warmschrumpffutter
- mit Gewinde für Längeneinstellschraube
- Drehrichtung nach VDMA 8849
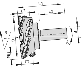
|
Ø D
[mm] |
L2
[mm] |
Ø d
[mm] |
L3
[mm] |
L1
[mm] |
Z |
nmax
[min-1] |
FB
[mm] |
FT
[mm] |
Achs∡
[°] |
L/R | Ident-No. | Vergl. | Anfr. | |
|---|---|---|---|---|---|---|---|---|---|---|---|---|---|
|
Gesuchte Abmessungen werden nicht aufgeführt?
ab Lager lieferbar |
|||||||||||||
| 100 | 18,6 | 25 | 65 | 99 | 3+3 | 19’100 | 10 | 15 | 70 | R | 184731 | ||
| 100 | 28,3 | 25 | 65 | 110 | 3+3 | 19’100 | 16 | 25 | 70 | R | 184732 | ||
| 100 | 43 | 25 | 65 | 120 | 3+3 | 19’100 | 16 | 38 | 70 | R | 184733 | ||
